Bricks Block Machine Ingredients

PLD Series Batching Machine


For construction, road, and bridge projects


PLD800 model for Bricks Block Machine Ingredients


Central discharge for humid conditions


Patented swing screen (long service life)


Belt discharge with precise weighing


Product Details

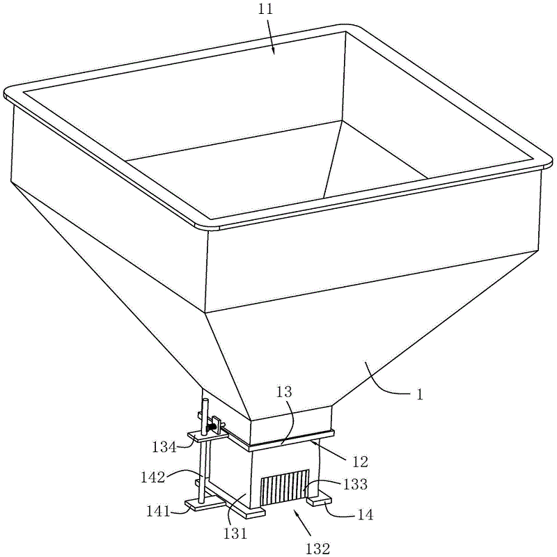
1. Refined Raw Material Silo Management

A compartmentalized storage design is employed, with each silo dedicated to a specific raw material to prevent cross-contamination between different materials.

A material level monitoring device (such as a radar level gauge) is installed to monitor the remaining raw material in the silo in real time, ensuring timely replenishment and preventing overfilling.

Bricks Block Machine Ingredients

2. Quantitative Feeding Control

Each silo outlet is equipped with an independent quantitative feeding device (such as a screw conveyor or belt scale) to achieve precise metering of a single raw material.

A closed-loop control system uses a load cell to provide feedback on the actual feed amount. The device speed is automatically adjusted after comparison with the set value, ensuring a ratio error within ±0.5%.

3. Multi-Material Aggregate Conveying

Raw materials output from each quantitative feeding device are transported to the mixing equipment via a converging belt or scraper conveyor. A uniform conveying speed is maintained during the conveying process to prevent material accumulation or breakage.

Serial number

name

Specification

quantity

unit

1

PLD1200

Raw material storage warehouse

4m³

2

indivual

Shaking screen

2800*2500

1

indivual

Weighing bin

0.8㎡

1

indivual

sensor

ZMLBF-1000

3

indivual

Motor

2.2KW

2

tower

Scree Shaker Motor

2.2KW

1

tower

Conveyor Belt

B500

3

strip

Frame

Steel structure

1

set


Leave your messages

Related Products

x

Popular products

x
x